

主要性能参数规格size额定动力矩Rated Dynamic TorqueN.m静力矩Static TorqueN.m额定电压Rated VoltageDCV线圈消耗功率 ( 20 ℃ )Coil Consumption power( 20 ℃ ) W允许最高转速Allowed Max Revolutionr/min离合器Clutch制动器Brake离合器Clutch
立即咨询 在线询价
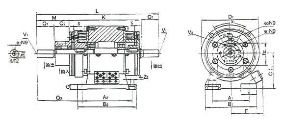
主要性能参数
规格
|
额定动力矩 |
静力矩 |
额定电压 |
线圈消耗功率 ( 20 ℃ ) |
允许最高转速 | |||
离合器 | 制动器 | 离合器 | 制动器 | 离合器 | 制动器 | |||
1 | 10 | 10 | 11 | 11 |
| 16 | 10 | 4000 |
8 | 80 | 80 | 90 | 90 | 36 | 38 | 3000 | |
25 | 250 | 250 | 275 | 275 | 50 | 49 | 2000 | |

规格 | A1 | A2 | B1 | B2 | C | D1 | E | F | G | K | L | M | N | V1 | V2 |
1 | 65 | 90 | 90 | 105 | 65 | 100 | 27.5 | 58 | 10 | 126 | 217 | 57 | 37 | M2深8 | 3-M4深6 |
8 | 135 | 160 | 175 | 185 | 115 | 190 | 42 | 97 | 15 | 221 | 399 | 113 | 62 | M6深11 | 6-M5深8 |
25 | 180 | 225 | 225 | 255 | 160 | 280 | 45 | 126 | 20 | 315 | 611 | 179 | 100 | M10深17 | 6-M6深12 |
| 规格 Size | X1 | X2 | Z1 | Z2 | ф1 | ф2 | Q1 | Q2 | Q3 | h1 | h2 | e1 | e2 | δ |
| 1 | 3-120° | 60° | 13.5 | 6.5 | 14 | 45 | 30 | 25 | 78.5 | 11-0.10 | 42-0.10 | 5 | 5 | 0.2 |
| 8 | 6-60° | 30° | 24 | 11 | 28 | 75 | 60 | 50 | 149 | 24-0.20 | 71-0.10 | 8 | 8 | 0.3 |
| 25 | 6-60° | 30° | 28 | 14 | 42 | 110 | 110 | 65 | 231 | 37-0.20 | 104-0.20 | 12 | 16 | 0.5 |